点击体验 【行政OA管理系统】
1. 方案介绍
随着信息技术的迅猛发展和企业管理的日益精细化,传统的办公模式已难以满足现代企业高效、协同、透明的管理需求。为了提升企业的行政办公效率,优化资源配置,增强内部沟通与协作,实现业务流程的数字化、自动化与智能化,开发一套符合现代企业特点的行政OA(Office Automation,办公自动化)系统显得尤为重要。
该系统旨在解决以下问题:
- 效率低下:手工处理导致的信息滞后、沟通不畅,影响整体办公效率。
- 管理复杂度增加:部门间协作频繁,需要更高效的流程管理和资源调度。
- 远程办公需求:支持跨地域、跨时间的协同办公,确保团队高效运作。
- 成本控制:通过自动化流程减少纸张消耗,缩短审批周期,降低运营成本。
- 信息安全:确保数据合法合规存储与传输,防止信息泄露,保障企业安全。
行政OA系统的开发将聚焦于流程自动化、信息集成与共享、移动办公能力、数据分析与决策支持以及安全可控性,旨在提升办公效率,优化资源配置,增强企业竞争力。
2. 实现方案
![]() |
|---|
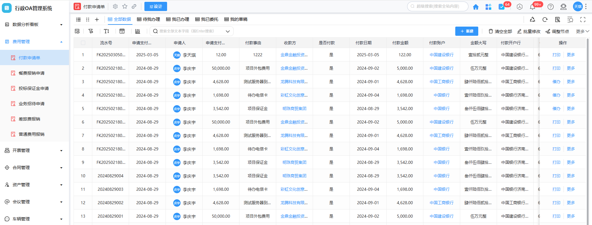
1)费用申请
痛点:传统费用申请流程繁琐,审批周期长,且费用数据分散,难以进行统一管理和分析。
解决方案:系统提供线上费用申请功能,员工可以随时随地提交申请,系统自动化审批流转,缩短审批周期。同时,系统集中管理所有费用数据,支持多维度报表生成,便于企业进行费用分析和预算管理。
![]() |
|---|
![]() |
|---|
2)合同管理
痛点:合同管理混乱,合同进度难以控制,信息汇总困难,影响决策效率。
解决方案:系统提供标准的合同管理模块,支持合同起草、审批、签署、执行和归档全生命周期管理。系统以项目为主线,关联销售合同、采购合同、收付款等,提供丰富的看板,帮助管理者整体掌握合同执行情况。
![]() |
|---|
![]() |
|---|
3)资产管理
痛点:资产信息分散,盘点困难,资产利用率低。
解决方案:系统实现资产的智能化管理,支持资产的入库、领用、归还、盘点等功能。系统提供清晰的资产台账,便于管理者随时掌握资产状况,提高资产利用率。
![]() |
|---|
![]() |
|---|
4)车辆管理
痛点:车辆调度混乱,用车申请审批流程繁琐,车辆维护信息不透明。
解决方案:系统提供车辆管理功能,员工可以提前申请用车,系统根据车辆使用情况合理安排。同时,系统记录车辆的维修保养信息,便于管理者随时查看,确保车辆正常运行。
![]() |
|---|
![]() |
|---|
5)会议管理
痛点:会议室预订困难,会议信息沟通不畅,会议效率低。
解决方案:系统提供在线会议室预约功能,支持会议室资源的查询、预订、取消等操作。系统还提供 会议通知、会议纪要、待办事项 管理等功能,确保会议信息畅通,提高会议效率。
![]() |
|---|
![]() |
|---|
6)用印管理
痛点:用印申请流程繁琐,用印记录难以追溯,存在安全隐患。
解决方案:系统提供用印管理功能,员工可以在线提交用印申请,详细说明用印事由、文件内容等信息。经过相关领导审批后,系统记录用印信息,确保用印过程的安全性和规范性。
![]() |
|---|
3. 方案价值
搭贝行政OA系统通过整合上述功能,解决了企业日常运营中的多个痛点,为企业带来了显著的价值:
- 提高运营效率:自动化审批流程、集中管理数据等功能,显著缩短了审批周期,提高了工作效率。
- 优化资源配置:通过数据分析功能,企业可以更精准地预测资源需求,避免资源浪费,提高资源利用率。
- 增强团队协作:提供统一的信息平台,促进部门间的信息共享与交流,打破信息孤岛,增强团队协作能力。
- 提升决策精准度:实时报表和可视化工具,帮助管理者快速了解企业运营状况,为决策提供数据支持。
- 保障信息安全:采用先进的数据加密和访问控制技术,确保企业信息安全,降低信息安全风险。
综上所述,搭贝行政OA系统通过解决企业日常运营中的痛点,提高了运营效率和管理水平,为企业带来了显著的价值。











