点击体验:「提案管理系统」
1. 方案介绍
本提案管理系统方案旨在构建一个全面、高效、激励性强的员工提案管理平台。该系统覆盖了提案的提交、审批、分析、积分管理以及兑换管理等多个环节,形成了一个完整的创新激励闭环。通过电子化流转和智能化分析,系统能够大幅提升提案审批效率,精准洞察企业创新脉络,有效激发员工创新潜能,助力企业实现持续发展和竞争优势。
2. 方案价值
![]() |
|---|
3. 实现方案
![]() |
|---|
3.1 提案管理审批流程:严守创新质量关口
员工提案先经直属上级初审,基于实用性及业务契合度筛选60%潜力提案。通过者转至跨部门专家团队,经10日评估成本效益、技术、市场及合规性,仅75分以上提案晋级。关键提案还需高层终审,结合公司战略7日内决定。全程电子化流转,确保高效决策。此提案管理系统构建创新激励闭环,激发员工潜能,助力企业竞争成功。
![]() |
|---|
3.2 数据分析:洞察企业创新脉络
3.2.1 提案分析
深入提案内核是关键。系统记录提案主题、创新点、解决问题及预估效益。梳理发现,流程优化提案占35%,缩短12%生产周期;市场拓展提案占20%,增长18%市场份额。这些数据不仅彰显了不同类型提案的价值,还为后续引导员工提案方向提供了有力依据。
![]() |
|---|
3.2.2 部门数据分析
宏观视角下,部门数据分析展现创新表现。大型企业各事业部中,研发部门提案多(40%)、采纳率高(60%);行政部门虽提案少(10%),但实施成功率高(80%)。通过这种对比,管理层能够精准洞察各部门的创新活力与潜力,有的放矢地调配资源,激发全员参与创新的热情。
![]() |
|---|
3.3 任务管理:夯实提案落地根基
3.3.1 提案登记
提案登记是提案管理系统的入口关卡,确保每一份来自员工的智慧结晶都被妥善收录。员工在线提交提案后,系统自动抓取关键信息,包括提案人基本信息、所属部门、提交时间、提案摘要等,生成标准化的提案记录,并存档以供后续流程随时调取查阅,为整个提案管理流程奠定坚实基础。
![]() |
|---|
3.3.2 非有效提案反馈
并非所有提案都能直接付诸实践,对于那些经过评估不具备可行性的非有效提案,系统同样重视反馈环节。评审人员需在系统中详细阐述否决原因,如技术瓶颈难以突破、成本过高远超预期收益等,让提案人清楚知晓问题所在,既保护了员工创新积极性,又便于其总结经验,为后续提出更优质提案积累知识。
![]() |
|---|
3.4 积分管理:点燃员工创新激情
3.4.1 专员得分登记
在积分管理体系中,专员得分登记确保对每个提案评审环节的精准计分。每当专员完成对一份提案的评估,系统依据预设标准,如提案的创新性、可行性、潜在效益等维度打分,并自动记录专员得分,这不仅为后续积分统计提供数据基础,也促使专员秉持严谨公正的态度履职。
![]() |
|---|
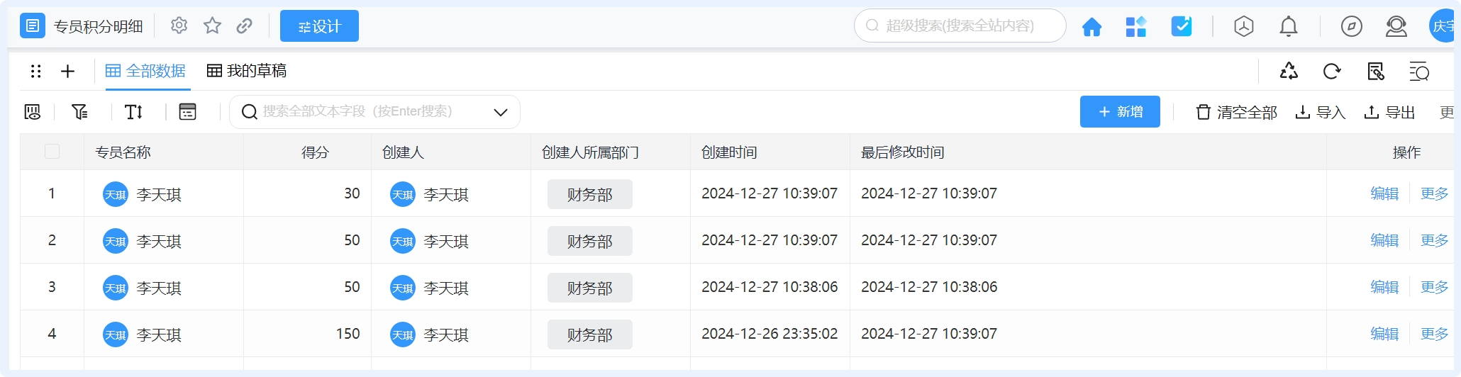
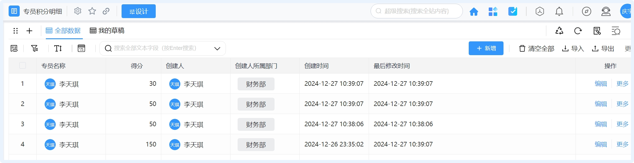
3.4.2 专员积分明细
专员的辛勤付出同样值得激励,专员积分明细模块清晰呈现每位专员在评审工作中的积分累积情况。积分来源涵盖提案评审数量、挖掘出高价值提案数量等,依据积分,专员可在年末参与评优、获得额外培训机会等奖励,提升其参与评审工作的积极性与专业度。
![]() |
|---|
3.4.3 员工创新积分明细
员工是创新的主力军,员工创新积分明细则是他们创新成果的荣誉榜。系统实时更新员工的积分变化,从提案提交的基础分,到提案进阶各阶段的加分,一目了然。例如,员工小李年初提交一份流程优化提案,经过层层评审,最终被部分采纳,他的积分随之大幅跃升,这让他在同事间备受瞩目,也激励更多员工踊跃投身创新浪潮。
![]() |
|---|
3.5 兑换管理:回馈员工创新硕果
3.5.1 积分兑换
积分兑换是员工收获创新回报的直接途径。系统精心打造积分商城,上架丰富多样、契合员工需求的兑换品,从高端办公设备、优质在线课程,到生活购物卡、健康体检套餐等应有尽有。员工凭借积累的积分自由选择心仪商品,兑换流程简便快捷,提交申请后,系统自动审核,审核通过即可安排配送或服务预约,让员工迅速享受到创新带来的福利。
![]() |
|---|
3.5.2 现金兑换
为满足员工多元化需求,现金兑换选项提供了更大的灵活性。当员工积分达到一定阈值,可选择按照既定兑换比例兑换现金奖励,直接打入工资账户。这一方式在特殊时期,如员工面临突发经济困难时,尤为贴心,彰显企业对员工的关怀,进一步强化员工对提案管理系统的认同感。
![]() |
|---|
3.5.3 物品管理
在幕后默默支撑积分兑换与现金兑换顺畅运行的是物品管理模块。它负责从供应商采购、库存盘点、物品发放全程管控,确保兑换商品的质量可靠、供应充足。通过与优质供应商合作,严格把控采购流程,定期盘点库存,及时补货,让员工的每一次兑换体验都尽善尽美。
![]() |
|---|












