点击体验: 【项目管理(通用)】
1. 方案介绍
什么是项目?项目是一种旨在创造独特产品、服务 或 成果 的 临时性 工作活动。
而 项目管理,则是运用知识、技能、工具 和 技术 来规划和执行这些项目活动,以达到既定的项目要求,并最终确保项目的成功实施。
2. 痛点
项目管理因其特有的属性,包括 独特性、时限性 以及 逐步明确 的特点,在实施管理的过程中会遇到不少难题。
以下是关键的管理难题概述:
![]() |
|---|
3. 实现方案
3.1 业务流程图
![]() |
|---|
3.2 使用步骤
1)分析看板
![]() |
|---|
![]() |
|---|
![]() |
|---|
2)客户跟进
如果你的项目是围绕客户开展的,可以设置客户管理模块。(如果不需要,可以将整个客户管理模块删除)
项目开始之前录入客户跟进情况:
![]() |
|---|
3)项目立项
录入客户跟进情况后,开始进行项目立项。
在项目立项表中录入客户及项目基本信息,提交数据即可发起项目立项流程:
![]() |
|---|
相关负责人依次在“我的待办”中完成项目立项审批:
![]() |
|---|
4)合同签订
立项完成后,与客户进行合同签订,在表单中发起合同审批,审批通过后上传合同附件,合同审批通过后,项目状态将自动更新为“进行中”。
![]() |
|---|
5)制定里程碑计划
合同签订后,可以在“项目计划”表中制定整个项目的里程碑任务计划。
项目立项通过后会通过智能助手自动发起项目计划流程,相关负责人直接在“我的待办”中完成项目计划的制定:
![]() |
|---|
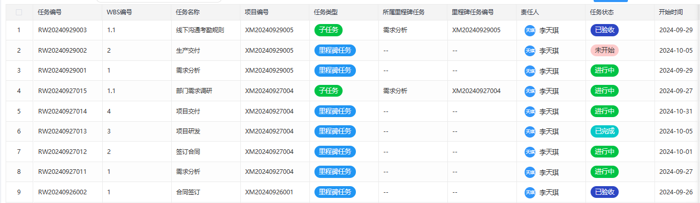
6)任务拆解
里程碑任务创建后,将自动拆解同步至任务管理表中统一进行跟踪维护:
![]() |
|---|
7)任务创建&分配
在里程碑的详情页,可以快捷进行子任务的创建,并选择任务负责人完成分配:
![]() |
|---|
8)任务甘特图
可通过任务甘特图查看任务进度:
![]() |
|---|
9)进度更新
在项目进度汇报表中,可以及时汇报最新项目建站,录入任务完成进度。录入并审批通过后,将自动向任务管理表中对应的任务数据中更新最新任务进度:
![]() |
|---|
10)项目验收
对于已完成的任务,通过任务验收表单发起任务验收流程,任务验收通过后,将自动变更任务管理表中对应任务的任务状态为“已验收”:
![]() |
|---|
11)项目结项
整个项目完成后,在项目结项表中发起结项流程,提交结项报告:
![]() |
|---|
12)回款登记
项目过程中产生的回款数据,可以通过回款登记表进行登记:
![]() |
|---|
13)开票申请
对于客户的开票需求,可以统一在开票申请表单中录入。每一笔开票申请都关联具体的项目信息,已开多少,待开多少,实时关联展示,清晰明确:
![]() |
|---|
14)付款申请
对于项目、经营产生的付款需求,在付款申请表单中进行申请;如果是项目成本,则关联具体的项目及项目预算,对于超支的情况还会进行校验提醒:
![]() |
|---|


















