维修工单管理系统

爱搭贝
更新于2025-05-20

点击体验:【维修工单管理系统】

1.方案背景:

在企业设备管理与日常运营里,维修工单处理至关重要。但当下,传统维修工单管理弊端丛生。维修申请靠人工口头或纸质传达,易遗漏关键信息,耽误维修进度。维修人员接收工单后,缺乏便捷工具记录维修详情,导致故障排查与解决过程难以追溯。维修完成后,工单统计分析全靠人工,效率低且难以发现维修流程中的潜在问题。面对设备故障频发、维修需求日益繁杂的现状,引入一套高效的维修工单管理系统,成为提升企业运维效率、保障设备稳定运行的关键之举。

2.系统优势:

3. 实现方案

image.png

3.1 数据看板

3.1.1 工单管理看板

集中展示工单的各种关键信息,如工单状态(待处理、处理中、已完成等)、分配情况、进度等,方便管理者进行统筹和监控,及时调度资源。

image.png

3.1.2 满意度看板

直观呈现客户对维修服务满意度的相关数据,例如满意度得分、评价分布、不满意原因统计等,帮助企业了解服务质量的反馈情况。

image.png

3.1.3 备件库存看板

用于显示备件库存的实时状态,包括库存数量、库存预警(低于安全库存提示)、备件出入库动态汇总等信息,以便合理管理备件资源。

image.png
image.png
image.png

3.2 工单中心

3.2.1 维修工单

记录客户设备或产品维修需求的表单,包含故障描述、客户信息、报修时间等,是维修人员开展工作的依据。

image.png

3.2.2 安装工单

针对产品安装服务的工单,涵盖安装地址、安装产品型号、客户特殊要求等内容,用于安排和跟踪安装工作。

image.png

3.2.3 维保工单

主要用于设备或产品的维护保养任务,包括保养计划、保养项目、上次保养时间等信息,保障设备正常运行。

image.png

3.3 满意度管理

3.3.1 满意度回访

在维修、安装或维保服务完成后,主动联系客户,询问其对服务的满意程度,收集意见和建议,以改进服务质量。

image.png

3.4 备件管理

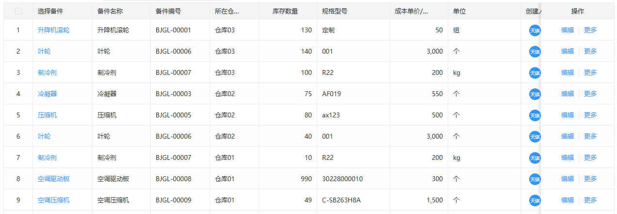
3.4.1 备件列表

列出所有备件的详细信息,如备件名称、规格型号、品牌、单价等,方便查询和管理。

image.png

3.4.2 备件入库

对新采购或退回的备件进行入库操作记录,更新库存数量。

image.png

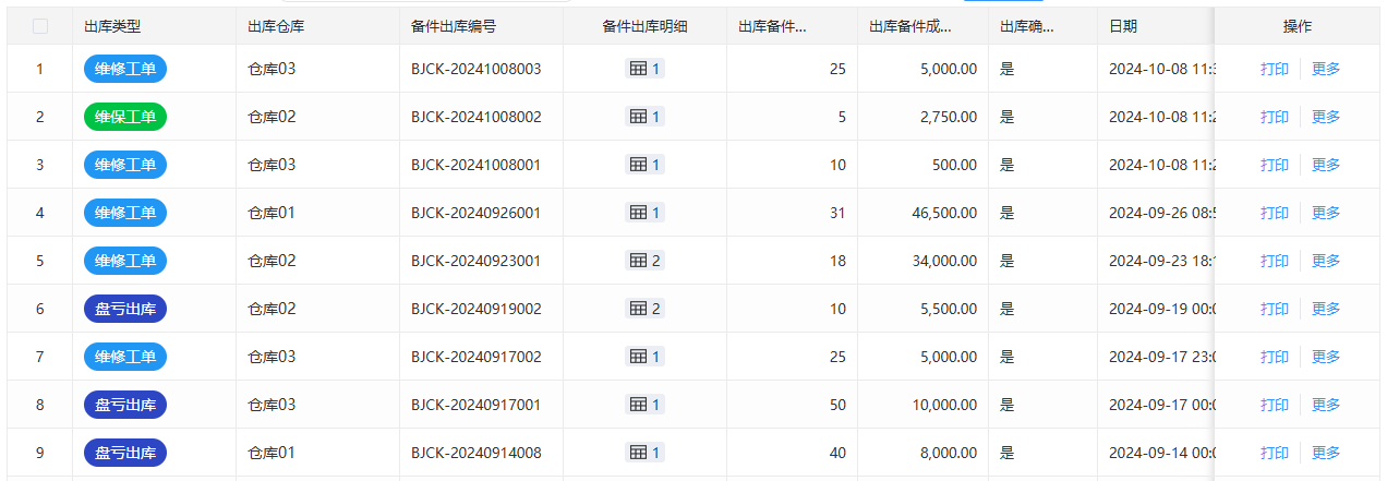
3.4.3 备件出库

记录备件从仓库中领取用于维修、安装等工作的过程,减少库存数量。

image.png

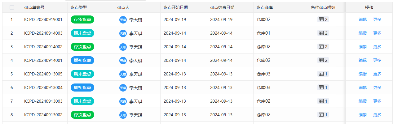
3.4.4 库存盘点

定期对仓库内的备件进行实物数量清点,与系统记录的库存数量核对,确保账实相符。

image.png

3.4.5 库存明细

详细记录每个备件的出入库时间、数量、操作人等信息,便于追溯和查询库存变动情况。

image.png

3.5 基础设置

3.5.1 员工档案

存储企业员工的个人信息、技能专长、工作履历、联系方式等,为工单分配和人员管理提供依据。

image.png

3.5.2 产品列表

记录企业所涉及的各种产品信息,如产品名称、型号、参数、使用说明等,方便在工单处理中关联相关产品。

image.png

3.5.3 客户列表

汇总客户的基本信息,如名称、地址、联系方式、购买记录等,有助于更好地服务客户。

image.png