点击体验: 【园区管理】 、 【园区管理(含水电费管理)】
1. 方案介绍
随着城市化进程的加速,各类产业园区、科技园区、物流园区等不断涌现,园区管理面临着诸多挑战。传统的管理方式往往存在信息不透明、资源分配不均、费用管理混乱等问题,导致园区运营效率低下,租户满意度不高。为了解决这些问题,本文提出了一套全面的园区管理方案,旨在通过信息化、智能化的手段,实现园区的精细化、高效化管理,提升园区的整体竞争力。
2. 痛点
![]() |
|---|
3. 实现方案
3.1 业务流程图
![]() |
|---|
3.2 数据分析 —— 指引决策方向
1)租赁分析看板
直观呈现园区的 租赁率、空置率、租户行业分布、租期结构 等关键指标。管理者借此洞察园区租赁市场的动态,为招商策略调整、租金定价优化提供数据支撑。
![]() |
|---|
2)宿舍水电分析看板
聚焦宿舍区域,分析水电消耗与入住人数、季节变化的关联,助力管理者优化宿舍资源配置,制定针对性的节能降耗方案。
![]() |
|---|
3.3 房间管理 —— 构建清晰空间架构
1)楼栋信息
系统详细记录每一栋楼的基本情况,包括楼栋编号、建筑年代、结构类型、总层数等。管理者通过这些信息,能迅速定位到特定楼栋,了解其整体特性,为后续的维护、规划提供依据。例如,老旧楼栋可能需要优先安排修缮资金,以保障租户的使用安全与舒适度。
2)楼层信息
细化到每个楼层,涵盖楼层布局图、可租赁面积、公共区域设置等内容。这有助于合理规划不同类型租户的分布,商业租户可能倾向于低楼层的显眼位置,而办公租户对高楼层的静谧环境需求更高。同时,清晰的楼层信息也方便保洁、安保等日常服务的精准调配。
![]() |
|---|
3)房间信息
精确至每一间房,房间号、面积、户型、朝向、装修程度 一应俱全。租户在选房时,可根据自身需求快速筛选出心仪的房间,管理者也能依据房间的具体参数制定差异化租金策略,实现空间价值的最大化。
![]() |
|---|
3.4 合同管理 —— 保障租赁双方权益
1)租户合同
以电子合同形式存储,涵盖 租赁起止时间、租金金额、押金规则、房屋用途 等关键条款。合同的线上化便于随时查阅、修改(在合规前提下),减少纸质合同易丢失、难查找的弊端,确保租赁关系有法可依、有据可查。
![]() |
|---|
2)合同提醒
系统自动根据合同中的时间节点,提前向管理者与租户 发送提醒。如租金缴纳提醒,避免租户逾期产生滞纳金;租期到期提醒,方便管理者提前规划续租或招租事宜,让租赁流程无缝衔接,减少空置期损失。
![]() |
|---|
3.5 抄表管理 —— 精准能耗把控
1)水表抄表记录
定期记录各房间的水表读数,精确反映租户的用水情况。对于用水量大的租户,管理者可适时提供节水建议,或排查是否存在漏水隐患;同时,依据用水数据合理分摊公共区域的水费,确保费用公平公正。
![]() |
|---|
2)电表抄表记录
同理,电表读数的精准记录为电费核算提供支撑。通过分析用电趋势,管理者能发现异常用电高峰,及时检查电器设备故障,也有助于制定节能措施,倡导绿色园区建设。
![]() |
|---|
3.6 租户管理 —— 聚焦租客需求
租户信息模块详细记录租户的 个人或企业资料 ,包括 联系方式、营业执照、紧急联系人 等。这不仅方便日常沟通联络,如物业通知的精准推送,在遇到突发情况时,也能迅速联系到相关责任人,保障园区运营的稳定性与安全性。
![]() |
|---|
3.7 数据追溯 —— 还原租赁历程
历史合同账单记录如同园区租赁的 “档案库”,过往的每一笔 租金调整、费用明细 都清晰可查。无论是租户对费用的疑问,还是管理者进行 财务审计、经营分析,都能在这里找到确凿的依据,回溯租赁业务的发展轨迹。
![]() |
|---|
3.8 基础信息 —— 奠定计费基石
费用单价 设置关乎 租金、水电费、物业费 等各项费用的核算基准。管理者可根据 市场行情、园区运营成本动态 调整单价,确保园区的盈利空间,同时兼顾租户的承受能力,维持良好的租赁生态。
![]() |
|---|
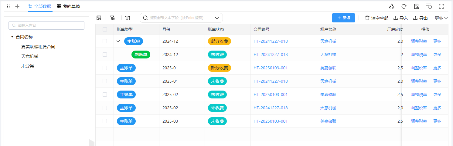
3.9 费用管理 —— 确保资金流畅
1)租户计费明细
按照合同约定与抄表数据,详细列出租户每月的各项费用构成,让租户对支出一目了然,增强费用透明度。
![]() |
|---|
2)租户收费明细
记录租户的缴费情况,已缴、未缴、欠费金额实时更新,便于财务对账与催收工作的开展。
![]() |
|---|
![]() |
|---|
3)退房管理
当租户退租时,系统自动结算剩余租金、押金退还、费用清算等事宜,简化退房流程,避免纠纷。
![]() |
|---|
4)账单催收
针对逾期未缴费的租户,系统生成催收通知,可通过短信、邮件等多渠道发送,督促租户尽快缴费,保障园区的资金回笼。
![]() |
|---|

















